Các tính năng chung
thêmít hơn| Số đặt hàng | 61 0897 139 |
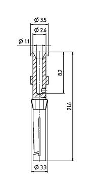
| Thiết kếđầu nối | Đầu nối uốn |
| Phiên bản | Chân ổ cắm |
| Mặt cắt kết nối | 0,50mm² |
| Trọng lượng (gr) | 0.68 |
| Số thuế hải quan | 85369095 |
Chất liệu
thêmít hơn| Chất liệu tiếp xúc | CuZn (đồng thau) |
| Mạ tiếp xúc | Ag (bạc) |
| REACH SVHC |
CAS 7439-92-1 (Lead) |
| PFAS hiện tại | 0867c36b-2dde-40f7-bf8b-9e85fa1da3dd |
Phân loại
thêmít hơn| eCl@ss 11.1 | 27-46-04-03 |
Thông báo bảo mật
- Người dùng phải thực hiện các biện pháp phòng ngừa an toàn phù hợp để tránh trường hợp vô tình ngắt kết nối.

