Các tính năng chung
thêmít hơn| Số đặt hàng | 61 0798 085 00 |
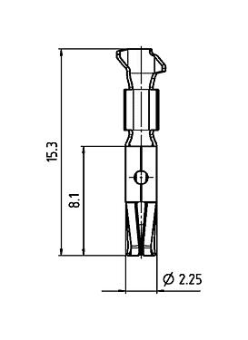
| Thiết kếđầu nối | Đầu nối uốn |
| Phiên bản | Chân ổ cắm |
| Mặt cắt kết nối | 0,75-1,00mm² |
| Kích thước uốn (giá trị hướng dẫn) | 0,75 mm²: 1,2-1,33 mm - 1,00 mm²: 1,3-1,45 mm |
| Lực kéo uốn | 0,75 mm²: 90 N - 1,00 mm²: 110 N |
| Trọng lượng (gr) | 11.39 |
| Số thuế hải quan | 85369010 |
Chất liệu
thêmít hơn| Chất liệu tiếp xúc | CuSn (đồng) |
| Mạ tiếp xúc | Ag (bạc) |
| REACH SVHC |
None (No pollutants) |
| PFAS hiện tại | SCIP-number not available |
Phân loại
thêmít hơn| eCl@ss 11.1 | 27-46-04-03 |
Thông báo bảo mật
- Người dùng phải thực hiện các biện pháp phòng ngừa an toàn phù hợp để tránh trường hợp vô tình ngắt kết nối.

